外资公司类型及设立流程,含外商投资性公司相关介绍
<{炒股网}>外资公司类型及设立流程外资公司类型及设立流程,含外商投资性公司相关介绍,含外商投资性公司相关介绍{炒股网}>
外资公司即外商独资经营企业外资公司类型及设立流程,含外商投资性公司相关介绍,是指依照中国有关法律在中国境内设立的全部资本由外国投资者投资的开办的企业外商投资性公司 认定,是中国法人,不包括外国的公司和其他经济组织在中国境内的分支机构。4、外商投资股份有限公司。5、外商投资性公司。在上海市内兴办的生产性外商投资企业按24%的税率征收企业所得税。浦东新区内设立的生产性外商投资企业减按15%的税率征收企业所得税。注册资本相当于50万元人民币的美元。申请一般纳税人时要求注册资本达到相当于100万元人民币的美元。具体注册外资公司的资本要与企业主营项目运作金额匹配,详细请以湘沪企业注册中心最新的为标准。3、投资方承诺书及公司介绍。7、经投资方签署的公司章程、可行性研究报告。
外资公司即外商独资经营企业,是指依照中国有关法律在中国境内设立的全部资本由外国投资者投资的开办的企业外商投资性公司 认定,是中国法人,不包括外国的公司和其他经济组织在中国境内的分支机构。 其具体形式有外商合资和外商独资两种。
一、五大类型:
1、中外合作企业;
2、中外合资企业;
3、外商独资企业;
4、外商投资股份有限公司;
5、外商投资性公司。
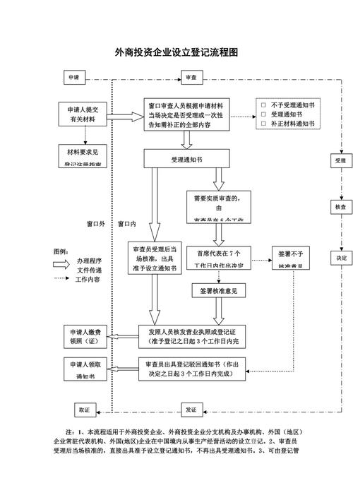
二、设立流程:
1、查名(名称无重复的情况下5个工作日);
2、报送外国投资委员会申请批准证书(材料齐全的情况下约20个工作日);
3、报送工商局申请营业执照(材料齐全的情况下约10个工作日);
4、申请组织机构代码证(2个工作日);
5、向税务局申请税务登记证(15-20个工作日);
6、办理统计证(约7个工作日);
7、办理财政登记证(约7个工作日);
三、注册要求:
1、生产性企业;
在上海市内兴办的生产性外商投资企业按24%的税率征收企业所得税。浦东新区内设立的生产性外商投资企业减按15%的税率征收企业所得税。
2、贸易性企业;
所得税率:市内25%;(2008年1月1日起实行) 增值税17%,营业税3-5%,上海市各地相同; 注册资本相当于50万元人民币的美元; 申请一般纳税人时要求注册资本达到相当于100万元人民币的美元。

3、以生产经营为主或以商品批发为主的公司50万元人民币;
4、以商业零售为主的公司30万元人民币;
5、科技开发、咨询、服务性公司10万元人民币;
备注:具体注册外资公司的资本要与企业主营项目运作金额匹配,详细请以湘沪企业注册中心最新的为标准。
材料要求
证件:
1、投资方的营业执照复印件(需要去中国驻当地大使馆做公证);
2、外国银行对投资方的资信证明原件份;
3、投资方承诺书及公司介绍;
4、设立申请书;
5、财务报表(公司成立一年以上需要提交);
6、投资方经会计事务所审计的最近一年的审计报告;
7、经投资方签署的公司章程、可行性研究报告;
8、公司董事会人员委派书正及董事身份证明复印件;
9、公司董事会名单;
10、投资方的法人身份证明(或护照)复印件;
11、拟设上海公司法人任职文件、身份证明复印件、简历、照片;
12、财务人员身份证明和上岗证复印件及照片;
13、授权中方某人签字的授权书(如果没有,不用提交);
14、公司房屋租赁合同及房产证复印件;
15、委托湘沪企业注册中心代办手续的委托书;
本文 炒股网 原创,转载保留链接!网址:http://wwww.zzmrw.com/post/2039.html
本文由[炒股网平台名称]原创撰写,数据来源[注明数据平台如Wind/同花顺],文中观点仅代表个人分析。未经书面授权,禁止任何形式的转载、洗稿或截取部分内容使用。对于侵权行为,本平台将保留法律追诉权及要求赔偿的权利。











